Filtrering
Show allMontering Beslag topmontering Beslag sidemontering Beslag støttevægge af beton Fastgørelseselementer Top- og sidemontering Vægbeslag Jordbeslag Sparkeliste Betonfundament Koblinger Indvendig tap Gelændersamling
Montering
Til samling af universalgelænderet findes der en række forskellige monteringstilbehør baseret på dit behov.
Beslag topmontering
Beregnet til at skrues i fx træ eller beton. Kan også svejses fast.
Til montering af gelænderstolpen er der brug for en bolt, en låseplade og en møtrik.
Udførelse: Varmforzinket
| Betegnelse | Mål (mm) | Art.nr. | Lagervare |
|---|---|---|---|
| Enkelt | 125 x 125 x 108 | UG1000 | |
| Dobbelt | 200 x 125 x 108 | UG2000 | |
| Sikringsskive, 10 stk. | UL4201 | ||
| Skruesæt, 10 stk. | BU1201 | ||
| Møtriksæt, 10 stk. | MU1001 |
Beslag sidemontering
Beregnet til at skrues i fx træ eller beton. Kan også svejses fast.
Sidebeslagene fås i højre- og venstreudførelse. Højrebeslaget sidder til højre, når man ser mod monteringssiden. Beslaget har en fortandet stolpe for at lette monteringen i den rette højde.
Til montering af gelænderstolpen er der brug for en bolt, en låseplade og en møtrik.
Udførelse: Varmforzinket
| Betegnelse | Dimension (mm) | Art.nr. | Lagerførte |
|---|---|---|---|
| Venstre | 80 x 35 x 280 | UV1001 | |
| Højre | 80 x 35 x 280 | UV1002 |
Beslag støttevægge af beton
Udførelse: Varmforzinket
| Betegnelse | Art.nr. | Lagerført fabrik | Lagerført Taastrup |
|---|---|---|---|
| Fæste til 100 mm beton støttevæg, enkelt, fzv | UL1000 | ||
| Fæste til 100 mm beton støttevæg, dobbelt, fzv | UL2000 |
Fastgørelseselementer Top- og sidemontering
Fastgørelseselementer Top- og sidemontering.
| Betegnelse | Art.nr. | Lagerførte |
|---|---|---|
| Fastgørelseselement, enkelt U-formet til støttemur maks. 100 mm | UL1000 | |
| Fastgørelseselement, dobbelt U-formet til støttemur maks. 100 mm | UL2000 | |
| Sikringsskive, 10 stk. | UL4201 | |
| Skruesæt, 10 stk. | BU1201 | |
| Møtriksæt, 10 stk. | MU1001 |
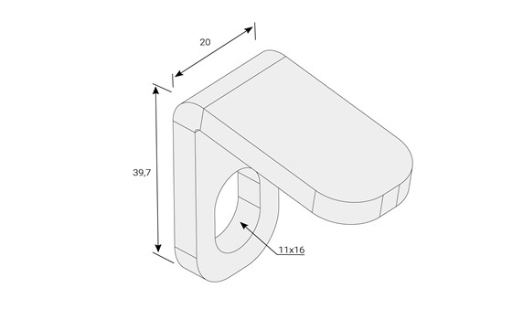
Vægbeslag
Til afslutning af gelænderet mod en væg eller en stolpe. Vægbeslaget fås til håndlister eller knælister.
Udførelse: Varmforzinket
| Betegnelse | Dimension (mm) | Art.nr. | Lagerført fabrik |
|---|---|---|---|
| Fæste til håndliste | 35 x 59,2 | UV4200 | |
| Fæste til knæliste | 20 x 39,7 | UV2700 |
Jordbeslag
Beslaget fremstilles i bukket plade og giver en meget stabil fastgørelse ved nedgravning i jorden med makadam eller stengrus i hullet. Beslaget kan desuden anvendes til indstøbning i beton.
Beslaget fås i både enkel og dobbelt udførelse.
Udførelse: Varmforzinket
| Betegnelse | Art.nr. | Lagerført fabrik |
|---|---|---|
| Jordbeslag enkel 42 mm | UM1000 | |
| Jordbeslag dobbelt 42 mm | UM2000 |
Sparkeliste
Sparkelisten fås til samtlige gelænderlængder og også til gelænderhjørner. Sparkelisten monteres med selvborende skrue mod gelænderbuen.
Højde: 100 mm
Udførelse: Varmforzinket
| Betegnelse | Længde (mm) | Udførelse | Art.nr. | Lagerføres |
|---|---|---|---|---|
| Fodliste | 390 | ZM310 | SL0410 | |
| Fodliste | 490 | ZM310 | SL0510 | |
| Fodliste | 690 | ZM310 | SL0710 | |
| Fodliste | 990 | ZM310 | SL1010 | |
| Fodliste | 1490 | ZM310 | SL1510 | |
| Fodliste | 1990 | ZM310 | SL2010 | |
| Fodliste gelænderhjørne | 335,6 x 335,6 | ZM310 | SL4040 | |
| Selvborende skrue 1 sæt a 10 stk. | 5,5 x 22 | Stål | SS5221 |
Betonfundament
Stabilt betonfundament med indstøbte håndtag og to huller.
| Betegnelse | Dimension | Højde (mm) | Art.nr. | Lagerført fabrik |
|---|---|---|---|---|
| Betonfundament | 350 x 240 | 125 | BF2000 |
Koblinger
Kobling mellem gelændere udføres som sammenkobling med muffe og gennemgående bolt. Alle gelændere er forsynet med forborede huller. Gelændere, som ikke monteres i lige linje, sammenkobles med en hjørnekobling, som klemmes rundt om gelænderstolperne.
Vi tilbyder også koblinger til hjørner.
Udførelse: Varmforzinket
| Betegnelse | Art.nr. | Lagerført fabrik |
|---|---|---|
| Kobling | KP4277 | |
| Hjørnekobling | MK4200 |
Indvendig tap
Anvendes til nedstøbning i bjælkelag eller mure, eller hvis man ønsker at svejse mod kanten af bjælkelaget. Kan også anvendes som forlængertap i planforsænket gulvmuffe. Tappen låses til gelænderet med bolt, møtrik og skive på gelænderstolperne på samme måde som øvrige beslag.
Udførelse: Varmforzinket
| Betegnelse | Længde (mm) | Art.nr. | Lagerført fabrik |
|---|---|---|---|
| Indvendig tap | 310 | UT3100 |
Gelændersamling
Til samling af gelænder og knæliste.
Udførelse: Varmforzinket
| Betegnelse | Art.nr. | Lagerført fabrik |
|---|---|---|
| Gelændersamling ø42 mm, fzv | SK4200 | |
| Gelændersamling ø27 mm, fzv | SK2700 |